July 2, 2013 – FOR IMMEDIATE RELEASE
Emergent is pleased to announce the recent issuance of a patent on a Traffic Signal Information System to client Clemson University.
|
United States Patent |
8,478,500 |
|
Vahidi , et al. |
July 2, 2013 |
|
Clemson University |
|
System and method for utilizing traffic signal information for improving fuel economy and reducing trip time
Abstract
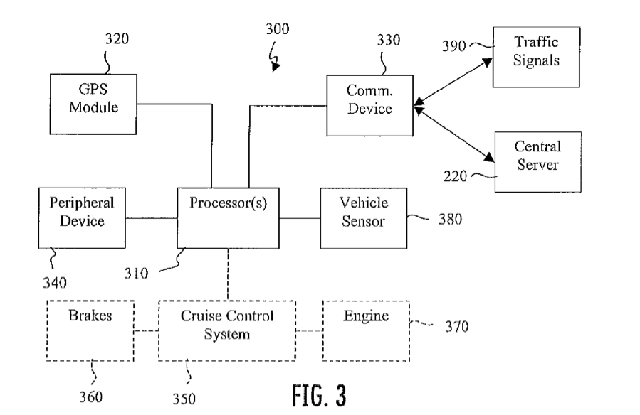
A system and method for utilizing traffic signal information to reduce wait time at traffic signals and to reduce fuel use is disclosed. Traffic signal timing data can be received from traffic signals or from a central server to determine a reference velocity for a vehicle to travel through a plurality of traffic signals. The reference velocity can then be provided to the driver so that the driver can manually control the vehicle at a velocity close to the reference velocity. The techniques of the present disclosure also can be used in connection with a cruise control system to control the velocity of a vehicle to be close to the reference velocity.
Read more here.

